在当下的Google SEO 优化中,竞争对手分析、关键词研究、外链监控已经成为外贸独立站运营的必修课。手动去追踪这些数据不仅耗时,而且不够精准,这也是为什么越来越多的SEO从业者会借助专业工具来提升效率和判断力。
Ahrefs是什么?
Ahrefs就是其中最强大的SEO优化工具之一。它拥有全球领先的外链数据库,并提供从关键词研究、排名追踪到网站审计的一整套功能。通过Ahrefs,网站所有者可以:
- 快速找到精准的关键词机会;
- 分析竞争对手的流量与外链策略;
- 发现内容差距和外链机会;
- 定期检查网站问题并提升 SEO 健康度。
Ahrefs是任何认真做SEO的人必备的分析工具,能帮助你提升排名、扩大流量、超越竞争对手。
如何注册关联Ahrefs?
登录ahrefs官网,用关联gsc的谷歌账户登入ahrefs,并导入gsc数据即可。

用谷歌账户登录

从gsc导入数据

导入gsc数据

ahrefs网站数据展示

安装ahrefs网站分析代码,但是数据要等几天

验证代码成功
左上角切换gsc就可以看到gsc数据
Ahrefs使用教程
Dashboard就是上面那块。
Brand Radar 品牌提及
现在非常重要,不过功能还不够完善。
进入 Ahrefs → Brand Radar
添加品牌关键词(例如“鸭老师 SEO”、“Duck SEO Consulting”)
设置过滤条件:国家、语言、新闻/博客/论坛等来源
查看提及列表
- 标记哪些已经有链接
- 找出无链接提及
行动
- 无链接提及 → 主动外联要链接
- 有价值的媒体 → 建立合作关系(投稿、采访、PR)



AI content helper
ai 内容帮助,个套餐没包括所以使用不了,不知道效果怎么样,但是建议用chatgpt替代。

Site Explore网站分析
这个最常用也是最重要。
输入你自己的域名分析,或者竞争对手的url,分析的思路都一样。

输入之后会出来这个网站的概述。
包括域名评分(AR),跟SEMRUSH的AS分数一样,不过Ahrefs的会比较准一点,更准的就是MOZ的DA。
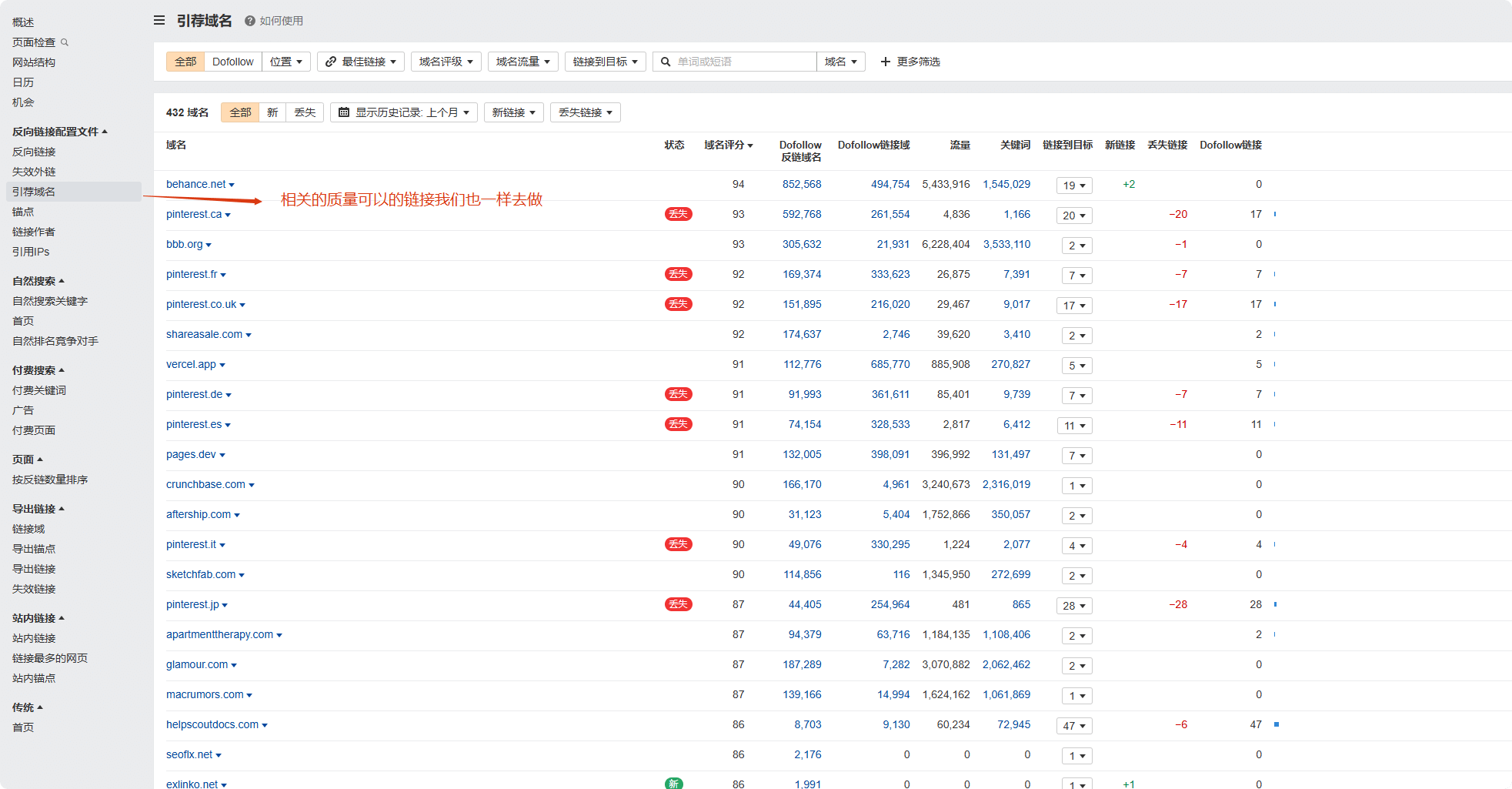
引荐域名要多看,如果有丢失的我们可以尝试跟站长联系,做断链替补。
主要流量来源地区,按意图分类的关键词.
现在新版还有ai提取


页面检查,有的网站设置了保护,看不到。
能看到的就很好,可以从颜色深浅,时间表来看对手或者自己哪些优化做的不好,或者做的好的。
颜色比较深的就是改变比较大,越浅改动越小。
比如导航增加了什么模块,删除了什么,内容增加了哪几篇,看一下写的什么内容,效果怎么样,是不是相关,相关我们也要跟上。
内容很重要的一点就是意图要全,多分析竞争对手会让我们找到很多没想到的主题。

例如,我随机点了一个时间节点,就出现了我具体做了什么改动。这里也要观察内容更新频率。

代码写的网站也可以看HTML的前后对比。

日历主要看关键词的波动,红色越深丢失下降排名的越多越大,绿色则是出词增加,排名上升。

就像以下这张图,显示了具体的关键词页面如何变动,搜索量多少,排名多少,kd多少。

机会的话非常重要,逐个检查,逐个优化,解决问题。

|
|
|
|
|
|---|---|---|---|
| 内容 |
|
|
|
|
|
|
|
|
|
|
|
|
|
|
|
|
|
|
|
|
|
|
|
|
|
|
|
|
| 链接 |
|
|
|
|
|
|
|
|
|
|
|
|
|
|
|
|
|
|
|
|
|
|
|
| 技术 |
|
|
|
反向链接,查看网站所有的反向链接,不利垃圾的我们可以做nofollow或者disavow。
对于对手我们更关注dofollow和最佳链接,也就是给网站带来最大好处的一些反向链接,然后我们也去找机会做上去。

对手或者我们失效的外链要去补足,最佳链接有时候可能是扫不出来,那就看其他的外链。

Dofollow的外链是比较好的,能做的,例如下面这个网站,有pinterest的外链,那我们就要及时跟进,把pinterest这个渠道也给做起来。

域名评分越高越好,但是要注意相关性,以及导出链接的数量,越少越好。

查找来源,有可能的话,我们也去做,做更多,做更好。

更多筛选可以看到全部的内容。

点击目标可以看到,这个域名做了几条外链给对手,锚文本是什么,具体是哪些页面。

这个同理,分析对手,对手有的我们去做,没有的也要去做,才能在谷歌排名表现上更优。

通过链接目标可以看到入站链接,入站的锚文本,入站的终点页面。

自然搜索关键词研究:列出网站当前在 Google 的排名关键词,包括搜索量、难度、点击率、流量贡献以及对应的 URL。通过这个功能,你能快速知道网站哪些关键词在带来流量,以及这些关键词的排名变化。
关键词(Keyword):用户实际搜索的词。
搜索量(Volume):该关键词在目标地区/全球的平均月搜索量。
关键词难度(KD):竞争强度,数值越高越难排名。
流量(Traffic):该关键词预计带来的流量。
排名位置(Position):网站当前在 Google 的排名,以及近期变化趋势。
目标 URL:承载该关键词排名的具体页面。
应用:
找出网站的核心流量词(重点保护和优化)。
发现“低垂的果实”关键词(排名 5–20 位,有潜力冲到首页)。
判断内容优化效果:比如你发了一篇文章,排名从 30 名升到 10 名。
分析竞争对手:输入对方域名,看看他们吃到的核心词,作为内容选题参考。

另外还可以在每个关键词旁边的serp下看到首页的网站,文章以及排名变动,这样你可以参考他们的内容去完善自己的页面,进而增加上首页的机率。

首页关键字数据,上首页的关键字,以及页面数量,搜索量,还有个ai内容等级,越高则是代表ai生成的痕迹越高,但是其实不准,可以忽略。

自然竞争对手,建议看如何进行seo竞争对手分析。
对着一个个点去扒,把同行优势的地方都给借鉴过来成为我们的优势。

付费搜索(都看3.0新版的就行)
- 付费关键词(Paid Keywords)
- 找到高转化商业词(适合你做内容覆盖)。
- 避免盲目竞价,参考对手的广告投放分布。
-
- 是什么:展示网站在 Google Ads(付费搜索广告)里投放的关键词。
- 能看什么:关键词出价、广告文案、排名位置、预估流量。
- 怎么用:分析竞争对手的 PPC 投放策略,发现他们在买哪些词。
- 应用场景:
- Paid Keywords 3.0(新版)
- 是什么:新版付费关键词分析,数据更直观,支持更多筛选。
- 应用场景:对标老版,体验更好,适合深度研究广告投放。
- 广告(Ads) / 广告 3.0
- 借鉴竞争对手的广告文案(标题、卖点)。
- 分析他们的广告落地页,改进自己的转化页面。
-
- 是什么:展示对手的广告文案和创意(包含文字广告、展示广告)。
- 能看什么:广告标题、描述、落地页 URL。
- 应用场景:
- 付费页面(Paid Pages) / 付费页面 3.0
- 找到对手的高转化页面。
- 反推他们的商业核心关键词。
-
- 是什么:哪些页面是通过付费广告获得流量的。
- 应用场景:

付费关键词

付费页面

付费广告,查看文案,标题等
页面(Pages)
- 按反链数量排序(Best by links)
- 找到对手最受欢迎的内容(高外链页面)。
- 制作类似或更优内容,争取同样的外链。
-
- 是什么:按外部反向链接数量对页面排序。
- 能看什么:哪些页面获得最多外链。
- 应用场景:
导出链接(Outbound Links)
- 链接域(Linked Domains)
- 是什么:你的网站导出链接到的外部域名列表。
- 应用场景:检查是否有过多导出到低质量网站,避免传递权重。找同行外链并为自己增加。
- 导出锚点(Anchors)
- 是什么:你导出链接时使用的锚文本。
- 应用场景:避免过多重复/无关锚文本,保持自然。
- 导出链接(Outbound Links)
- 是什么:你的网站具体有哪些出站链接。
- 应用场景:定期审查,清理低质量或失效链接。
- 失效链接(Broken Links)
- 是什么:你的网站出站链接指向的页面已失效。
- 应用场景:修复失效链接,避免用户体验差、权重浪费。也可以使用broken link checker插件去修复wordpress网站的死链,坏链。
站内链接(Internal Links)
- 站内链接(Internal Links)
- 是什么:页面之间的内部链接情况。
- 应用场景:优化网站结构,提升重要页面权重。查看对手内链布局。
- 链接最多的网页(Top linked pages)
- 是什么:获得最多内部链接的页面。
- 应用场景:判断权重分配是否合理,是否过度集中在首页或某一类内容。
- 站内锚点(Anchors)
- 是什么:站内链接使用的锚文本分布。
- 应用场景:优化内部锚文本,避免堆砌关键词,同时保证相关性。借鉴同行的锚文本。
Keywords Explorer
关键词有两个功能一个是输入关键词或者上传关键词表,可以提供与你相关的关键词,一般是设置美国,整个数据库也可以。

另一种则是ai推荐,建议还是直接用传统的吧。


传统关键词研究就有很多信息,比如关键词难度,以及预测需要的外链引用域名(1.7k),搜索量,cpc,点击次数都是非常重要的,潜在流量,全球搜索量,还有流量价值,全都可以作为你做不做这个词,值不值得做的参考。

广告历史记录
- 查看这个关键词的 Google Ads 投放历史。
- 可以看到哪些网站曾经为这个关键词投广告,广告文案、投放时间段等。
用途:研究竞争对手的广告策略、判断关键词是否商业价值高。

关键词提示
- 匹配术语(Phrase Match)
- 包含你输入的关键词的所有搜索词。
- 例如输入 google seo → 会得到 google seo tutorial、learn google seo 等。

- 相关术语(Related Terms)
- 不一定包含原词,但在语义和搜索行为上相关。
- 例如输入 google seo → 可能出现 search engine optimization、google ranking。

- 搜索建议(Search Suggestions)
- 抓取 Google 自动补全(Autocomplete)的长尾词。
- 例如输入 google seo → 自动补全结果 google seo tools、google seo checker。

Content Explorer
内容参考
位置选择:标题、内容、url或全部
页面语言也可以选,比如wordpress,博客,电商,cms等等。


Site Audit
网站诊断其实是刚关联网站的地方就可以看。
主要看all issues,具体什么问题什么页面逐步去解决。
也可以用尖叫青蛙一次性扫描。


Ahrefs视频教程
Ahrefs通常来说比较贵一点,上手难度高一点,如果是新手朋友,我还是推荐Semrush,更容易直观一点。
来源公众号: 鸭之建站(ID:ylsseo)玩LOL,做SEO,SEM
本文由 @鸭老师SEO 原创发布于奇赞平台,未经许可,禁止转载、采集。
该文观点仅代表作者本人,奇赞平台仅提供信息存储空间服务。

