优质的网站链接对于网站的排名和流量有很大的影响。
搜索引擎会根据网站的链接质量来评估网站的权威性和可信度,因此优质的链接可以提升网站在搜索引擎结果页面的排名。其次,它可以带来更多的流量,有助于提升网站曝光量、点击量、用户信任度、品牌知名度等等等。
介绍:
网站死链接(Dead Links)指的是网站上的链接,指向的页面已经不存在或无法访问,通常会显示404错误页面或类似的错误信息。这种链接会给用户带来不良的用户体验,同时也会影响网站的SEO排名。
网站问题链接(Broken Links)是一个更广泛的术语,包括了死链接在内。除了死链接,还包括指向错误页面、不安全页面或者已被移除的页面的链接。问题链接会给用户带来困扰,并影响网站的用户体验和SEO表现。
(死链接是问题链接的一种特例)
及时发现并处理网站上的这些无效链接,是SEO工作中非常重要的一环。
接下来咱们来聊一聊,可以通过哪些方法和工具发现网站这些无效链接(WordPress网站为例)?
发现无效链接
Google Search Console
Google Search Console是一个免费的谷歌官方工具,可以帮助管理员监控和维护其在Google搜索结果中的表现。GSC能提供网站在Google中的索引情况、搜索流量、排名、点击率等数据。

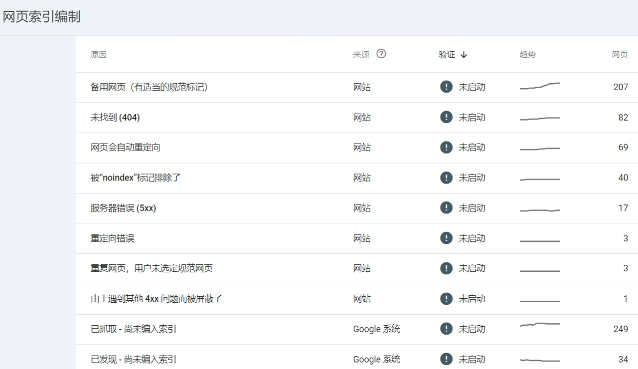
来源:GSC后台截图
在Google Search Console中,管理员可以查看编制索引情况,里面会详细列出“未编入索引的原因”有哪些以及问题链接的详情。(入口在概述-编制索引-完整报告或者直接侧边栏点击编制索引;可以通过侧边栏的”网址检查“或者Google搜索来验证你的链接情况)

来源:GSC后台截图
其它搜索引擎官方站长工具:Bing Webmaster Tools、Yandex Webmaster、Baidu Webmaster Tools……
手动检查
管理员可以通过浏览网站上的页面和文章,点击每个链接来检查是否存在无效链接。这种方法虽然繁琐,但是可以确保找出所有无效链接。
WorldPress插件
有一些WordPress插件可以帮助检测和修复无效链接。比如Broken Link Checker,它会自动检测报告网站上的无效链接,并提供修复建议或删除的选项。
一些站长分析工具
SEMrush:SEMrush是一个综合的数字营销工具,其中包含了链接分析功能。通过SEMrush,管理员可以查看网站的链接情况,包括外部链接、内部链接等,帮助了解哪些链接是有价值的,哪些链接可能需要优化。
Ahrefs:Ahrefs是另一个知名的SEO工具,提供了强大的链接分析功能。使用Ahrefs来检测网站的链接质量,发现潜在的问题链接,并查看竞争对手的链接情况。
Moz Link Explorer:Moz是一家知名的SEO工具提供商,他们的Link Explorer工具可以分析网站链接质量,包括域名权威度、页面权威度等指标。管理员可以使用它来检测网站的链接情况,并了解哪些链接对SEO有帮助。
Majestic:它是一个专注于链接分析的工具,提供了丰富的链接数据和指标。通过Majestic,管理员能够深入了解网站的链接情况,评估链接质量,帮助优化链接策略。
在线链接检测工具:Screaming Frog SEO Spider、Dr. Link Check、Dead Link Checker、W3C Link Checker、Online Broken Link Checker……
处理无效链接
如果网站存在着大量的死链,一定要及时处理,我有以下几种方法建议。
网站设置404页面告知搜索引擎:
创建自定义404页面,告知访问者页面不存在,并提供导航链接或搜索框等快捷访问,帮助用户继续浏览网站,不影响体验感。
设置404页面的HTTP响应代码。在服务器配置中,确保当访问到达不存在的页面时,服务器返回404错误状态码。这样搜索引擎就能正确识别页面的404状态,并更新索引。
在404页面中添加元信息:在自定义的404页面中,可以添加一些元信息。告诉搜索引擎不要索引这个页面,但可以继续跟踪页面上的链接。
提交404页面到Google Search Console等站长后台
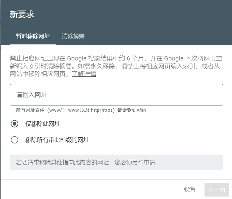
站长后台提交删除链接地址(以Google Search Console为例):

来源:GSC后台截图
侧边栏-编制索引/删除-新要求(提交申请)
这样Google就知道了哪些网站URL地址是有问题的不需要再抓取。
使用Broken Link Checker插件检测处理无效链接:
在WordPress后台插件页面搜索并安装Broken Link Checker插件。
激活插件后,在WordPress仪表盘的“工具”->“Broken Links”可以查看所有无效链接。
选择修复或删除无效链接,或者将其重定向到有效页面。
更新robots.txt协议文件:
将网站无效链接URL地址存储于网站机器人协议robots.txt文件中,设置蜘蛛禁止抓取。
使用Yoast SEO插件设置禁抓取:

来源:Yoast SEO页面设置截图
处理无效链接要点
修复无效链接:
对于内部链接:找到无效链接所在的文章或页面,编辑内容找到这个无效链接,将其修改为正确的链接。
对于外部链接:联系网站拥有者或管理员修复链接,或者将外部链接修改为其他有效链接。
重定向无效链接:
使用插件或编辑网站的.htaccess文件来进行重定向。
通过.htaccess文件可以设置301重定向,将无效链接指向有效链接,保持用户体验和SEO优化。
删除无效链接:
对于无法修复或重定向的链接,可以选择直接删除。
在WordPress后台“Broken Links”页面可以通过点击“Unlink”按钮来删除无效链接。
定期检查和维护:
定期使用Broken Link Checker插件或其他工具检查网站上的链接状态,及时修复或删除无效链接。
避免出现新的无效链接,保持网站链接的健康状态。
来源公众号: Mahi营销笔记(ID:MAHI2C)让笔记成为一种习惯。
本文由 @Mahi营销笔记 原创发布于奇赞平台,未经许可,禁止转载、采集。
该文观点仅代表作者本人,奇赞平台仅提供信息存储空间服务。

