很多人在寻找工具的路上越走越远,手上用的工具不下几十个,但是优化的效果却不是很好,基本上是因为每一款工具没有发挥它应有的作用,现在我们把官方的google search console工具深挖一下,确保有你没用到的地方,提升SEO的效果,官方的工具不可忽略!开始!!
目录:
1、如何安装
2、利用google search console 工具解决技术SEO问题
3、学会观察数据
4、google search console 工具高阶用法
5、总结
我知道你一次读不完,所以先收藏!
1、如何安装
它是业内最强大的 SEO 工具之一,而且完全免费。
那么如何使用它呢?
首先,登录谷歌搜索控制台,单击“添加资源”,选择资源类型

然后,将你网站的 URL 复制并粘贴到“网域”字段中。

然后,验证你的网站。这是GSC验证你拥有申请绑定网站的所有权,确保你拥有网站。
按照操作复制相关的TXT记录到网站的DSN配置中。注意,这是到 你的域名注册商的平台进行验证,不懂的朋友请让你的技术人员操作,设置完成后即可点击验证。这是GSC推荐的操作。

验证通过后,你就会通过这个工具进行网站的管理了。

通过后,点击前往资源页面,

不会马上有数据,大概一天左右的时间,就会有数据了,根据网站的大小,速度会有不同,耐心等待就好。
2、利用google search console 工具解决技术SEO问题
下面我们看这个工具能解决哪些问题
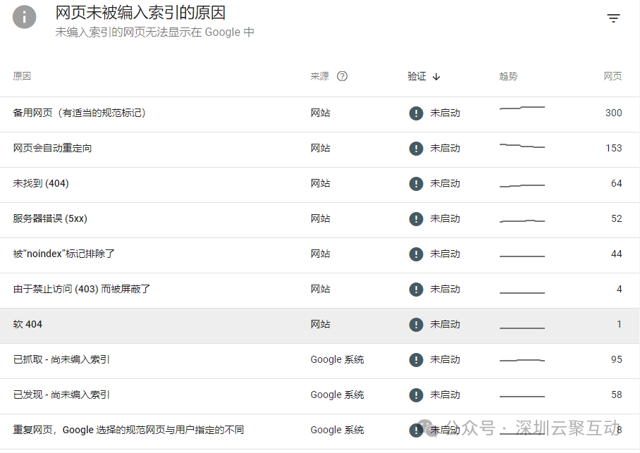
查看网页未被收录的原因
未编入索引:网址未编入索引,可能是因为索引编制错误或出于合理原因,例如网页被 robots.txt 文件屏蔽或属于重复网页。网页未编入索引的原因列在“网页未被编入索引的原因”表格中。阅读各个原因对应的文档,确定是否需要修正相关问题。来源表示相应问题是否可能得到修正。

这里分别讲一下对应错误的解决方法
a、网页重定向
重定向错误,即此页面有一个重定向 (301/302)。
即当前页面跳转到另外一个页面,所以这个页面没被收录,如果你发现这个是不能被重定向的,就需要取消这个重定向,让谷歌收录。
b、未找到页面404
找不到提交的网址(404)。找不到该页面,服务器返回了正确的 HTTP 状态代码 (404)。
首先确定这个页面为什么被删除,是误删还是不需要了,如果是误删,恢复即可,如果不是误删,那采取下面两个方法:
1、保持原样。谷歌最终将取消索引该页面。
2、可以将 404 页面重定向到类似的产品页面、类别页面或博客文章。(推荐)
c、服务器错误(5xx)
服务器错误(5xx)。Googlebot 无法访问该服务器。当Googlebot访问时,服务器可能已经崩溃,超时或关闭。
如果持续存在这个错误,或大量的页面出现500的代码,需要考虑升级服务器或CDN的问题。
d、软404
提交的网址似乎是软 404,这意味着页面“未找到”,但在header中提供了不正确的状态代码。
这个一般是这个页面不存在了,但是返回的代码是200,
解决方法:恢复页面或者返回正确的404代码
e、被“noindex”标记排除了
这个是认为设置,首先看这些页面是不是真的需要不让谷歌索引,如果是误排除的,需要在源代码中,将noindex删除,然后重新提交收录。
这个有些是特意排除的页面,比如按时间归档的页面,或者广告单独的落地页。
f、禁止访问 (403) 而被屏蔽
你的网站或特定网页可能被设置为不对Googlebot(Google的网页抓取机器人)开放。这可能是因为robots.txt文件中有指令禁止Googlebot访问,或者服务器上的某些配置错误导致Googlebot被误认为无权访问这些资源。

g、已抓取 – 尚未编入索引
这种情况可能由以下几个原因造成:
内容质量问题:如果Google认为网页的内容质量不高,或者内容不是独一无二的(例如,大量重复的内容),它可能决定不将该网页编入索引。
网站结构问题:如果网站的结构使得Google难以理解网页的重要性或位置,这可能会影响网页的索引情况。例如,如果一个网页没有从其他页面获得足够的内部链接,Google可能会认为这个网页不是很重要。
抓取预算问题:Google为每个网站分配有限的抓取预算,这意味着它只会在一定时间内抓取一定数量的页面。如果你的网站非常大,Google可能会选择不索引一些看起来不那么重要的页面。
解决方法:
●提高内容质量:确保你的网页提供有价值、独特且相关的内容。高质量的内容更有可能被Google索引。
●优化网站结构:改善网站的导航和内部链接结构,确保重要的页面容易被找到和访问。
●增加内部和外部链接:从其他重要页面链接到未被索引的页面可以提高其重要性,从而增加被索引的可能性。
●减少重复内容:确保你的网站上没有大量重复的内容。使用canonical标签可以帮助Google理解哪些页面是首选版本。
h、已发现 – 尚未编入索引
抓取预算限制:Google为每个网站分配了有限的抓取预算,这意味着它只会在一定时间内抓取一定数量的页面。如果你的网站非常大,Google可能会优先抓取其他页面,导致一些页面暂时处于“已发现 – 尚未编入索引”的状态。
网站的新内容:对于新发布的网页,Google可能已经通过站点的sitemap文件或其他链接发现了这些页面,但还没有安排抓取这些新页面。
链接深度:如果一个网页在网站结构中的层级较深,或者没有足够的高质量外部链接指向它,Google可能会延迟抓取这个页面。
网站或页面的技术问题:有时,技术问题如服务器速度慢、网页加载时间长、或者使用了不利于搜索引擎抓取的技术(如JavaScript渲染的内容),也可能导致Google延迟抓取网页。
解决方法
●优化网站结构:确保所有重要的网页都可以通过简单的链接结构轻松访问。使用面包屑导航和合理的内部链接策略可以帮助。
●更新和提交Sitemap:确保你的网站有一个最新的sitemap,并通过Google Search Console提交。这有助于Google发现和抓取你的最新内容。
●提高网页质量和相关性:虽然这个状态与内容质量直接关系不大,但确保你的网页提供有价值、独特且相关的内容总是一个好主意。
●增加外部链接:获取来自其他可信网站的链接可以提高你的网页在Google眼中的重要性,从而可能加快抓取和索引的过程。
●检查技术问题:使用Google Search Console的“URL检查”工具来查看是否有任何技术问题阻碍了Google的抓取。
已编入索引:这些网址已成功编入索引。在报告的摘要页上点击图表下方的查看关于已编入索引网页的数据,即可查看已编入索引网址的示例。
3、学会观察数据
3.1最热门的查询是什么?
查看查询标签页,了解您网站上的前 1,000 个热门查询(为保护用户隐私,报告不显示罕见的查询)

3.2 哪些网页在 Google 搜索中最受欢迎?
查看网页标签页,然后选择“点击次数”和“点击率”指标。按点击次数或点击率对结果进行排序。
按“点击次数”排序将显示哪些网页从 Google 搜索获得的流量最多。
点击率衡量的是用户是否认为所有搜索结果中,您的网页最能准确地解答他们的问题。

3.3 哪些网页在 Google 搜索中的表现最不理想
点击率很适合评估网页在 Google 搜索中的“表现”。这是因为点击率较低表示用户会在 Google 搜索中看到您的网页,但认为其并不能提供他们所需的内容。
若要查看点击率最低的网页,请执行以下操作:
选择“点击率”作为指标。
打开网页标签页。
按点击率排序。

如果您发现某个网页的点击率偏低,请考虑该网页是否值得保留。如果值得保留,请优化网页的标题和摘要
3.4 对于某个查询,Google 会显示您网站上的哪些网页?
点击查询标签页,点击任一查询即可过滤出所选查询的所有报告数据,然后再点击网页,即可看到某个查询关键词,同时有哪些网页有展示。
3.5 监控流量下降或猛增
这个不做多解释,很简单,查看很简单,但是原因又比较复杂,这里不多阐述。后续写文章单独阐述。
3.6 比较两个网页、日期范围、查询或任何其他维度的数据,这是3个月的对比曲线。

3.7 查看包含品牌的查询和不含品牌的查询的数据
您可以查看当用户在搜索查询中包含和不包含特定字词(例如,品牌名称)时,分别有多少查询会显示您的网站。
为查询添加过滤条件(“完全匹配的查询”“查询包含”或“自定义(正则表达式)”),以匹配某个值。记下图表中的总点击次数、总展示次数和点击率。
修改过滤条件以查找不含该值的查询(“查询不含”或“自定义(正则表达式)”)。记下图表中的总数值。
4、高阶用法
4.1 使用正则表达式过滤器
下面是几个基本的正则表达式:
| 通配符 | 说明 |
| . | 匹配任何单个字符。“m.n”匹配“men”和“man”,但不匹配“meen” |
| [字符] | 匹配 [] 中的任何单个项。“c[aie]t”匹配“cat”“cit”和“cet”“i[o0-9]n”匹配“ion”和“i7n”,但不匹配“ian” |
| * | 匹配前面的字母或模式 0 次或多次:“fo*d”匹配“fd”“fod”“food”和“foooooooood”“https*://example”匹配“http://example”和“https://example” |
| + | 匹配前面的字母或模式 1 次或多次“fo+d”匹配“fod”“food”“foooooooood”,但不匹配“fd” |
| | | OR 运算符,匹配 | 运算符前面或后面的表达式。“New York|San Francisco”匹配“I love New York”,也匹配“I love San Francisco” |
| d | 0 到 9 中的一位数“ddd abc”匹配“123 abc” |
| D | 任何非数字的项(例如任何字母或字符,如“+”“,”或“?”)“DDD 123”匹配“aaa 123”,但不匹配“123 123” |
| s | 任何空格(制表符、空格)“1s2s3”匹配“1 2 3” |
| S | 任何非空格的项。(S)+ 匹配“fire and ice”中的“fire”“and”和“ice”,但不匹配任何空格,也不匹配整个字符串。 |
| (?-i) | 为以下所有字符指定区分大小写的匹配。“(?-i)AAA”将匹配 https://example.com/AAA,但不匹配 https://example.com/aaa |
| ^ | 用在表达式的开头,限制必须匹配目标字符串的开头部分。“^example”匹配“example”,但不匹配“an example”“example”匹配“example”,也匹配“an example” |
4.2 抓取统计信息
抓取请求总数
针对您网站上的网址发出的抓取请求总数,无论成功与否。包括针对网页所使用的资源的请求(如果这些资源在您的网站上);对托管在您网站外部的资源发出的请求不会被统计在内。针对同一网址的重复请求会被分别统计。
4.3 下载内容总大小
在指定的时间段内,在抓取期间从您的网站下载的字节总数。如果 Google 缓存了一项被多个网页使用的网页资源,由于系统在收到第一次请求后已将该资源缓存,因此只需请求该资源一次。
4.4 平均响应时间
在指定的时间段内,从您的网站抓取的所有资源的平均响应时间。系统会将与网页关联的每项资源计为单独的响应。

4.5 托管状态
托管状态说明了 Google 在尝试抓取您的网站时是否遇到了可访问性问题。具体状态可以是以下值之一:
Google 在过去 90 天内未在您的网站上遇到任何严重的抓取可访问性问题 – 太棒了!在此状态下,您无需采取任何其他措施。
在过去 90 天内,Google 在您的网站上至少遇到一个严重的抓取可访问性问题,但这个问题是在一个多星期以前出现的。该错误可能是暂时性问题,或者可能已得到解决。您应该检查响应表格,了解问题所在,并决定是否需要采取任何措施。
在过去一周内,Google 在您的网站上至少遇到一个严重的抓取可访问性问题。由于该错误是最近发生的,因此您应尝试确定这是否为周期性问题。请检查响应表格,了解问题所在,并决定是否需要采取任何措施。
4.6 地址更改工具
将您的网站从一个网域迁移到另一个网域
当您将网站从一个网域或子网域迁移到另一个网域或子网域时,可使用地址更改工具:例如,从 example.com 迁移到 example.org 或 example2.com。您最好在迁移网站前使用此工具。
请勿使用地址更改工具执行以下迁移:
将地址从 http 方案更改为 https 方案。对于从 http 方案到 https 方案的迁移,请遵循有关包含网址更改的网站迁移的准则,但不要使用此工具;
将您网站中的某些网页从一个位置移到另一个位置:例如,从 example.com/oldpath/… 移至 example.com/newpath/…。在这种情况下,只需添加重定向,并根据需要更新站点地图即可。
在同一网域中在 www 方案和非 www 方案之间迁移:例如,从 www.example.com 迁移为 example.com。在这种情况下,请使用规范标记和/或重定向,而不要使用地址更改工具。
5、总结
您可以获得有价值的数据,例如搜索查询、展示次数、点击次数以及其网站在 Google 搜索结果中的平均排名。这种集成使您能够识别增加自然流量的机会,优化内容以定位特定关键字,并根据以上进行SEO的工作,google search console功能强大到只有你想不到,希望我们能够挖掘出这个工具强大功能服务我们。
来源公众号:深圳云聚互动(ID:gh_d4347d95e236)专注B2B官网出海运营
本文由奇赞合作媒体 @深圳艾维品牌营销有限公司 发布,未经许可,禁止转载、采集。
该文观点仅代表作者本人,奇赞平台仅提供信息存储空间服务。

